新肇庆网www.newzqw.com

热图推荐

肇庆市中心6宗地,九次上架!荒废15年!要绑旧改统一建设

[复制链接]

昨天 19:27 27 0

中介梁小姐 发表于 昨天 19:27 |阅读模式

中介梁小姐 楼主

昨天 19:27



半年后,第9次上架!

近日,肇庆市嘉华房地产有限公司名下六宗土地使用权及地下桩基础工程标的再次在阿里拍卖挂出。

这次起拍价降到约9793.53万元,对比第一次挂牌,降价近7千万元。

标的将于11月20日10:00开拍。


9ab6af65bc95bf6849490880e30a0d87.png


回顾2020年8月,标的首次被拍卖,至今经历7次流拍+1次撤回,可谓坎坷。


71a731742eea01aaf70facb6d0034268.png


从区位来看,标的物位置真不赖。

其位处端州市中心,信安大道北侧及塘岗村东南侧、颂德学校北面,直线距离星湖约600米,周边生活、教育、商业和休闲配套成熟。


8f025084139a90077e10944bf611735f.jpg


但4年多以来,标的屡次流拍,主要是“手尾”太多而且复杂。

毕竟这地的身世不简单。


其与端州一个旧改项目有关。2007年,政府批复同意景山岗村委会成立单项房地产公司,对塘岗旧村及其周边26亩集体自用地进行开发建设。

为此,景山岗村委会成立肇庆市嘉华房地产有限公司,对包括本次6宗法拍地块在内的有关用地,整合进行改造建设。其中,旧村改造回迁房须安排在首期建设。


a4cf1672b2fad02c931b056d26c77471.jpg

|上下滑动图片

按照土地出让合同,6宗土地约定动工时间分别为2009年3月30日以及2010年12月1日。

但项目被搁置多年,土地则早已超过合同约定的动工开发期限,至今荒废15年多。

如果有公司接手,还要缴付土地闲置费。


1c101122dbcad34a0e9469ac85735552.png


而且,拍卖公告还对该地块进行了其他风险提醒:

①标的物中的六宗土地使用权设定了抵押担保,管理人目前未实际接管到本次拍卖标的物的土地使用权证,办理注销抵押需要担保权人的配合,所需时间无法确定;标的物已由多家法院采取查封措施,此查封只有法院才有权解除,法院何时能解除查封无法确定。管理人会提供必要的协助,但管理人对此事宜不作出任何承诺或保证,买受人不得据此向管理人主张任何权益或主张竞价无效。

②标的物上可能存在部分物品(例如活动板房、铁皮、废品等)为第三人所有,此次拍卖的标的物仅为土地使用权及地下桩基础工程,因此,管理人不承诺或保证买受人取得拍卖标的物上的物品所有权,且管理人也不负责清理。如存在他人对标的物上的物品主张相关权益,则由买受人自行解决,买受人不得据此向管理人主张任何权益或主张竞价无效。


4e2a9d965bf9d812fa984440797825f2.jpg


③该拍卖标的物中位于肇庆市端州区68区塘岗村东南侧的土地使用权[证号:肇国用(2009)第00159号]现被案外第三人占有使用,管理人不承担清场移交责任,买受人自行处理要求案外第三人返还场地的事宜。管理人不作出任何承诺或保证,买受人不得据此向管理人主张任何权益或主张竞价无效。

④嘉华公司与案外第三人李xx、冼xx签订了《租赁协议书》,将位于肇庆市端州区68区塘岗村东南侧的土地使用权[证号:肇国用(2009)第00159号]出租给李xx、冼xx使用(经营仙庙烧鸡餐馆),租赁期限至嘉华公司所欠李xx、冼xx借款本息还清之日。李xx、冼xx在上述土地使用权上修建临时建筑。根据肇庆市自然资源局端州分局复函,该临时建筑物已超过批准的使用期限,应自行拆除。管理人已通过诉讼程序解除嘉华公司与案外第三人李xx、冼xx签订的《租赁协议书》,但目前案外第三人李xx、冼xx仍未按照生效判决返还地块。

⑤拍卖标的物中桩基础工程属于六宗土地使用权的地下隐蔽工程,由于条件限制,实地勘察时管理人无法对桩基础工程状况进行一一核实,管理人对标的桩基础工程的基础、结构等方面的质量问题以及是否能正常有效利用不作任何承诺或保证。


7f85649e1460f03d6bbac1a78da8e59e.jpg


必须一提的是,肇国用(2009)第00191号、肇国用(2009)第00192号、肇国用(2009)第00158号、肇国用(2009)第00159号土地使用权地上建筑限高20~35米,容积率为2.0-2.8;肇国用(2011)第00062号、肇国用(2011)第00063号容积率为A段≦2.8、B段≦3.5。上述六宗用地需统一开发建设,并与塘岗村改造同时统一规划建设。

下面来看详细的宗地情况:


根据公告,六宗用地用途均为城镇住宅、批发零售用地,面积合计26150平,按现状拍卖。

◎ 191/192号地块

两宗地块位于信安大道北侧,总用地5418平,建筑层数6-11层,容积率2.0-2.8,需配套建面≥2000平农贸市场。

其中,191号地块评估单价6500元/平;192号地块评估单价6376元/平。


8f28c5c82ebbd6ec03a6c69fb21369aa.jpg

|191/192号地块宗地图

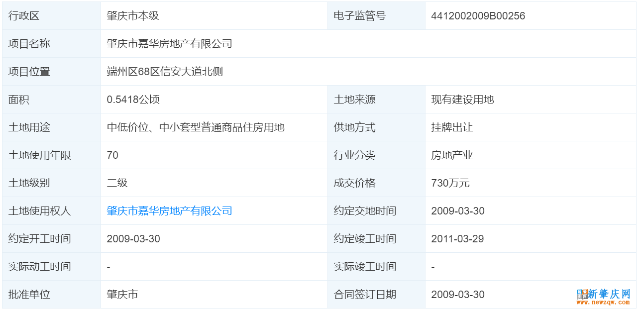
值得一提的是,两宗地块在2009年出让,面积合计5418平,成交价格730万元。

7a03dbcac1ea7157648c391724f26520.png


◎ 158/159号地块

两宗地块位于塘岗东侧,总用地19413平,建筑层数6-11层,容积率2.0-2.8,需建设环卫建设用房、公厕、文化室、配电房。

其中,158号地块评估单价6190元/平;159号地块评估单价6500元/平。



fbccc52c87cc8539af99091bac088ea6.jpg

|158/159号地块宗地图

◎ 062/063号地块:

两宗地块位于塘岗村东南侧,总用地面积1319平,建筑密度≤30%,出入口设于地块西侧。

其中,062号地块评估单价6190元/平;063号地块评估单价6066元/平。


cd9b2d53a0c81ddc30dfae75cb7e0dc3.jpg

|062/063号地块宗地图

最后说说该标的为什么遭到拍卖。

其牵涉到一宗破产案件,破产案号为(2018)粤1202破1。

裁判文书提及,截至2018年8月31日,肇庆市嘉华房地产有限公司资产为56655666.87元,负债为588303450.68元,所有者权益为-531647783.81元,已经资不抵债。

法院于2018年受理梁某对该公司的破产清算申请。


1e9bfdc9d15e3e3302cab723045a3a0d.png


有意思的是,梁某曾经是嘉华房地产公司的股东。


5a7aa9267f8067f7cbd1419c75197fc1.png


目前,嘉华公司自身风险有30条,周边风险19条,对比半年前风险数量少了很多。


bce522ea0cc6a5d21b8083e5e60ef936.png


—— END ——

回复

使用道具 举报

发表回复

您需要登录后才可以回帖 登录 | 立即注册

返回列表 本版积分规则

:
注册会员
:
856133@qq.com
:
未填写
:
未填写
:
未填写

主题19

帖子21

积分99

图文推荐

  • 发布新帖

  • 在线客服

  • 微信

  • 客户端

  • 返回顶部